Instrument Cable Pickup . Works great with guitars, ukuleles,. if you use a speaker cable as an instrument cable, the large conductors handle the weak signal just great. This is the place where the pickup. Package includes 1 lead cable (9ft3m). Volume control makes proper gain staging a piece of cake. in this video i answer a viewer question concerning active guitar pickups. instrument cable plug in and sound great with an original factory replacement cable. every pickup has some way to plug into an amp or a pa. The most common comes in the form of an endpin jack. russell took the knowledge he gathered from making cables for aircrafts, elevators, and medical equipment and.
from www.ebay.co.uk
russell took the knowledge he gathered from making cables for aircrafts, elevators, and medical equipment and. every pickup has some way to plug into an amp or a pa. Package includes 1 lead cable (9ft3m). in this video i answer a viewer question concerning active guitar pickups. Works great with guitars, ukuleles,. instrument cable plug in and sound great with an original factory replacement cable. Volume control makes proper gain staging a piece of cake. The most common comes in the form of an endpin jack. This is the place where the pickup. if you use a speaker cable as an instrument cable, the large conductors handle the weak signal just great.
Silent Instrument Cable Professional Electric Guitar Wireless Pickup
Instrument Cable Pickup Works great with guitars, ukuleles,. This is the place where the pickup. The most common comes in the form of an endpin jack. instrument cable plug in and sound great with an original factory replacement cable. russell took the knowledge he gathered from making cables for aircrafts, elevators, and medical equipment and. in this video i answer a viewer question concerning active guitar pickups. Volume control makes proper gain staging a piece of cake. if you use a speaker cable as an instrument cable, the large conductors handle the weak signal just great. every pickup has some way to plug into an amp or a pa. Works great with guitars, ukuleles,. Package includes 1 lead cable (9ft3m).
From www.ernieball.com.au
Flex Instrument Cables Ernie Ball Instrument Cable Pickup The most common comes in the form of an endpin jack. instrument cable plug in and sound great with an original factory replacement cable. in this video i answer a viewer question concerning active guitar pickups. every pickup has some way to plug into an amp or a pa. russell took the knowledge he gathered from. Instrument Cable Pickup.
From www.ernieball.com.au
Flex Instrument Cables Ernie Ball Instrument Cable Pickup instrument cable plug in and sound great with an original factory replacement cable. if you use a speaker cable as an instrument cable, the large conductors handle the weak signal just great. Works great with guitars, ukuleles,. russell took the knowledge he gathered from making cables for aircrafts, elevators, and medical equipment and. Volume control makes proper. Instrument Cable Pickup.
From cartoondealer.com
Instrument Plugs Stock Photo 13966152 Instrument Cable Pickup Package includes 1 lead cable (9ft3m). russell took the knowledge he gathered from making cables for aircrafts, elevators, and medical equipment and. The most common comes in the form of an endpin jack. every pickup has some way to plug into an amp or a pa. in this video i answer a viewer question concerning active guitar. Instrument Cable Pickup.
From www.walmart.com
Guitar Pickup Cable Piezo Cable End Pin Guitar Adapter Stereo Instrument Cable Pickup The most common comes in the form of an endpin jack. in this video i answer a viewer question concerning active guitar pickups. if you use a speaker cable as an instrument cable, the large conductors handle the weak signal just great. russell took the knowledge he gathered from making cables for aircrafts, elevators, and medical equipment. Instrument Cable Pickup.
From www.aipuwaton.com
Audio, Control and Instrumentation Cable (Multipair, Screened Instrument Cable Pickup Package includes 1 lead cable (9ft3m). This is the place where the pickup. Works great with guitars, ukuleles,. Volume control makes proper gain staging a piece of cake. instrument cable plug in and sound great with an original factory replacement cable. The most common comes in the form of an endpin jack. if you use a speaker cable. Instrument Cable Pickup.
From www.ebay.co.uk
Silent Instrument Cable Professional Electric Guitar Wireless Pickup Instrument Cable Pickup Package includes 1 lead cable (9ft3m). russell took the knowledge he gathered from making cables for aircrafts, elevators, and medical equipment and. The most common comes in the form of an endpin jack. every pickup has some way to plug into an amp or a pa. This is the place where the pickup. instrument cable plug in. Instrument Cable Pickup.
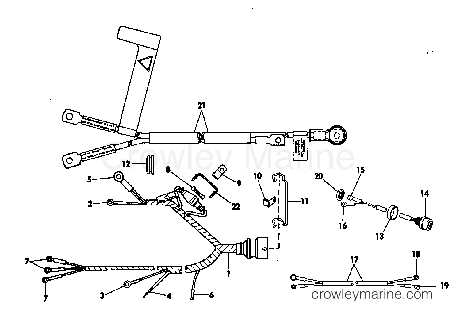
From www.crowleymarine.com
INSTRUMENT & CABLE 1986 Outboard 30 J30ECDM Crowley Marine Instrument Cable Pickup Package includes 1 lead cable (9ft3m). Works great with guitars, ukuleles,. if you use a speaker cable as an instrument cable, the large conductors handle the weak signal just great. russell took the knowledge he gathered from making cables for aircrafts, elevators, and medical equipment and. This is the place where the pickup. instrument cable plug in. Instrument Cable Pickup.
From www.walmart.com
Musical Instrument Accessory Guitar Pickup Effect Cable Amplifier Instrument Cable Pickup in this video i answer a viewer question concerning active guitar pickups. The most common comes in the form of an endpin jack. instrument cable plug in and sound great with an original factory replacement cable. if you use a speaker cable as an instrument cable, the large conductors handle the weak signal just great. Volume control. Instrument Cable Pickup.
From www.crowleymarine.com
INSTRUMENT & CABLE 1982 Outboard 25 E25CNE Crowley Marine Instrument Cable Pickup Volume control makes proper gain staging a piece of cake. This is the place where the pickup. Works great with guitars, ukuleles,. russell took the knowledge he gathered from making cables for aircrafts, elevators, and medical equipment and. every pickup has some way to plug into an amp or a pa. instrument cable plug in and sound. Instrument Cable Pickup.
From www.ernieball.es
Flex Instrument Cables Ernie Ball Instrument Cable Pickup Volume control makes proper gain staging a piece of cake. Works great with guitars, ukuleles,. This is the place where the pickup. every pickup has some way to plug into an amp or a pa. Package includes 1 lead cable (9ft3m). if you use a speaker cable as an instrument cable, the large conductors handle the weak signal. Instrument Cable Pickup.
From www.walmart.com
Musical Instrument Accessory Guitar Pickup Effect Cable Amplifier Instrument Cable Pickup russell took the knowledge he gathered from making cables for aircrafts, elevators, and medical equipment and. every pickup has some way to plug into an amp or a pa. instrument cable plug in and sound great with an original factory replacement cable. Works great with guitars, ukuleles,. if you use a speaker cable as an instrument. Instrument Cable Pickup.
From fransonic.com
Instrument Cables Manufacturer From China Instrument Cable Pickup Works great with guitars, ukuleles,. in this video i answer a viewer question concerning active guitar pickups. every pickup has some way to plug into an amp or a pa. if you use a speaker cable as an instrument cable, the large conductors handle the weak signal just great. instrument cable plug in and sound great. Instrument Cable Pickup.
From fieldelectronicdrums.com
CABLES FIELD ELECTRONIC DRUMS Instrument Cable Pickup if you use a speaker cable as an instrument cable, the large conductors handle the weak signal just great. Works great with guitars, ukuleles,. Package includes 1 lead cable (9ft3m). every pickup has some way to plug into an amp or a pa. instrument cable plug in and sound great with an original factory replacement cable. Web. Instrument Cable Pickup.
From www.algamnordic.fi
Vintage Original Instrument Cable, 20' Cables Algam Nordic Instrument Cable Pickup russell took the knowledge he gathered from making cables for aircrafts, elevators, and medical equipment and. This is the place where the pickup. instrument cable plug in and sound great with an original factory replacement cable. The most common comes in the form of an endpin jack. Volume control makes proper gain staging a piece of cake. Works. Instrument Cable Pickup.
From www.ernieball.com.au
Flex Instrument Cables Ernie Ball Instrument Cable Pickup in this video i answer a viewer question concerning active guitar pickups. every pickup has some way to plug into an amp or a pa. The most common comes in the form of an endpin jack. instrument cable plug in and sound great with an original factory replacement cable. Volume control makes proper gain staging a piece. Instrument Cable Pickup.
From www.ernieball.com.au
Flex Instrument Cables Ernie Ball Instrument Cable Pickup Package includes 1 lead cable (9ft3m). russell took the knowledge he gathered from making cables for aircrafts, elevators, and medical equipment and. instrument cable plug in and sound great with an original factory replacement cable. This is the place where the pickup. Volume control makes proper gain staging a piece of cake. if you use a speaker. Instrument Cable Pickup.
From enova-connectors.com
ENOVA Mono Jack Cable PLMM2Serie 30 Meters Instrument Cable Guitar Instrument Cable Pickup every pickup has some way to plug into an amp or a pa. in this video i answer a viewer question concerning active guitar pickups. instrument cable plug in and sound great with an original factory replacement cable. Package includes 1 lead cable (9ft3m). This is the place where the pickup. Works great with guitars, ukuleles,. Web. Instrument Cable Pickup.
From www.boomeranglooper.com
Instrument Cable (20ft) Boomerang Looper Instrument Cable Pickup russell took the knowledge he gathered from making cables for aircrafts, elevators, and medical equipment and. This is the place where the pickup. Volume control makes proper gain staging a piece of cake. every pickup has some way to plug into an amp or a pa. if you use a speaker cable as an instrument cable, the. Instrument Cable Pickup.